Unbekanntes Teil, verweistes Kabel und eine Leitung im Hitzeschutzmantel

Akut ein Problem?

Moderatoren: SqlMaster, T5owner, TripleT

Forumsregeln
Beachte bitte, je genauer Du dein Problem beschreibst, umso weniger Rückfragen wird es geben, bis Dir vielleicht jemand helfen kann. Vergiss nicht zuzufügen, welche Schritte zur Problemlösung Du bisher schon unternommen hast.
Antworten
Benutzeravatar
Green Sharky 69
Beiträge: 237
Registriert: So 27. Mai 2018, 17:45
Clubmitglied: Ja
Fuhrpark: - 1969 Mustang Grande in Lime Gold Metallic 302 cui 2V
- 1970 Opel Admiral B in Kobalt blau 2,8 H 146 PS
- Audi A6 in Quarzgrau Metallic 2,8 FSI
- Golf 5 ( fährt meine Frau )

Unbekanntes Teil, verweistes Kabel und eine Leitung im Hitzeschutzmantel

Beitrag von Green Sharky 69 »

Hallo zusammen,
da dies mein erster Beitrag (nach der Vorstellung :D ) bitte ich um Nachsicht falls einiges nicht ganz so professionell rüber kommt.

Ich habe meine Mustang Grande nun ein viertel Jahr und habe den Motor mittels separatem Tank erstmal zum Laufen gebracht . War ein sehr schönes Gefühl, dass das Triebwerk überhaupt einen Mucks macht. Habe mich dann daran gemacht den gesamten Motorraum zu entkernen. Vergaser ins Ultraschallbad und abgedichtes, neue Unterdruck -und Wasserschläuchet usw....

Nun zu meinen Fragen. Ich habe ein Bauteil ( Bild 1 )gefunden, was in dem Wasserkreislauf/ Heizung verbaut ist. Diese Dose hat einen vmtl. Unterdruckanschluss stirnseitig angebracht. Beim Drücken der Mechanik per Hand öffnet sich die Membran nur um 2-3mm .
Welche Funktion hat das Bauteil ? Ist die geringe Öffnung normal ?
IMAG0563.JPG
IMAG0563.JPG (60.29 KiB) 488 mal betrachtet
Beim demontieren von LIMA, Regler etc. habe ich erstmal 2 von den Dreifachstecker gekillt. Gibt es einen Trick oder bekommt man die nach einigen Jahren nicht mehr unfallfrei auseinander ? Ich habe neben dem Stecker zum Kondensator ( wahrscheinlich Radio )der sich auch nicht auseinander ziehen lassen wollte noch ein gelbes Kabel ( Bild 2). Das war beim Kauf schon verwaist. Kennt ihr die Verbindungsstelle des gelben Kabels ?
IMAG0589.JPG
IMAG0589.JPG (78.34 KiB) 488 mal betrachtet

Eine Rohrleitung( Bild 3) mit mittlerweile abgefetzter Hitzeummantelung hing bei mir im Motorraum. Geht die zum Getriebe ?

Viele Fragen .Ich weiß. Aber gerade am Anfang staut sich einiges auf.

Freundliche Grüße von Carsten :)
IMAG0565.JPG
IMAG0565.JPG (50.22 KiB) 488 mal betrachtet
Grüße von Carsten

Bild


Wer etwas will, findet Wege. Wer etwas nicht will, findet Gründe.
TBHH
Beiträge: 920
Registriert: So 6. Mär 2016, 09:32
Fuhrpark: '70 Mach1
'70 Grandé
'86 F350
'16 GT 5.0

Re: Unbekanntes Teil, verweistes Kabel und eine Leitung im Hitzeschutzmantel

Beitrag von TBHH »

Moin!
ERSTENS:
Fahrzeugdaten im Profil eintragen!
Mustangs sind -entgegen der Meinung mancher Zeitgenossen- von Baujahr zu Baujahr teilweise doch SEHR unterschiedlich.
ZWEITENS:
Originales Shop Manual für den '69er kaufen. Darin sind mehr Informationen, als der durchschnittliche Mustangschrauber braucht, aber es sind ALLE Informationen, die ein Mustangschrauber braucht. Sind ab '69 FÜNF Bände, man braucht alle. Dazu noch die Stromlaufpläne, und man ist für nahezu alle Schrauberfälle grüstet. Falls man dann noch mehr Informationen möchte, sollte man sich die Assembly Manuals zulegen. Das sind die Informationen, die an die Arbeiter am Fliessband rausgegeben wurden, als der Mustang neu war.

Dein erstes Bild zeigt das Heizungsventil, und das wiederum sagt mir, dass Dein Mustang AB WERK eine Klimaanlage hat (oder hatte...).
Der Radioentstörkondensator vom zweiten Bild ist bei fast jedem abgegammelt. Ersatz gibt es aber inzwischen im MustangteileFACHhandel.
Ruhig mal in den USA kucken, da ist meist die Auswahl viel grösser, und die Teile sind sehr schnell bei Dir.
Die Leitung vom dritten Bild ist die Vergaserchokedosenvorwärmung. Eine Seite geht zum Vergaser, die andere ist am (originalen!) Auspuffkrümmer befestigt. Es sollte eine Hin- und eine Rückleitung geben.

Gruss
Theo
Benutzeravatar
Green Sharky 69
Beiträge: 237
Registriert: So 27. Mai 2018, 17:45
Clubmitglied: Ja
Fuhrpark: - 1969 Mustang Grande in Lime Gold Metallic 302 cui 2V
- 1970 Opel Admiral B in Kobalt blau 2,8 H 146 PS
- Audi A6 in Quarzgrau Metallic 2,8 FSI
- Golf 5 ( fährt meine Frau )

Re: Unbekanntes Teil, verweistes Kabel und eine Leitung im Hitzeschutzmantel

Beitrag von Green Sharky 69 »

@Theo, vielen Dank für die umfangreichen Infos.
Heizungsventil ist bereits rausgesucht. Das läuft.
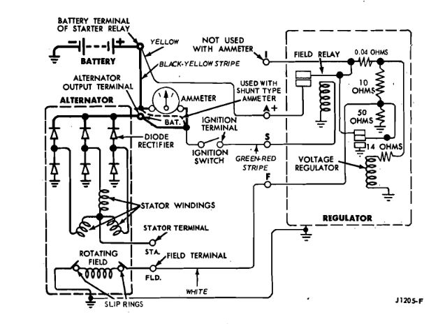
Weiß denn noch einer von euch wohin das gelbe Kabel kommt ?
Grüße von Carsten
Grüße von Carsten

Bild


Wer etwas will, findet Wege. Wer etwas nicht will, findet Gründe.
Benutzeravatar
immerfernweh
Beiträge: 2146
Registriert: Fr 1. Okt 2010, 22:27
Clubmitglied: Ja
Fuhrpark: 72 Mach 1 351C-2V
59 Heinkel 103-A1
73 Mach 1 302-2V (3F05F260352 | lost) :( wer etwas über den Verbleib dieses Autos weiß, bitte bei mir melden.

Re: Unbekanntes Teil, verweistes Kabel und eine Leitung im Hitzeschutzmantel

Beitrag von immerfernweh »

Green Sharky 69 hat geschrieben: Weiß denn noch einer von euch wohin das gelbe Kabel kommt ?
Vielleicht hilft dir das:
1969 alternator charging system.JPG
1969 alternator charging system.JPG (60.37 KiB) 335 mal betrachtet
Gruß Frank
Die Freiheit des Menschen liegt nicht darin, dass er tun kann was er will,
sondern dass er nicht tun muss, was er nicht will. (Jean Jacques Rousseau)
Bild
Benutzeravatar
Green Sharky 69
Beiträge: 237
Registriert: So 27. Mai 2018, 17:45
Clubmitglied: Ja
Fuhrpark: - 1969 Mustang Grande in Lime Gold Metallic 302 cui 2V
- 1970 Opel Admiral B in Kobalt blau 2,8 H 146 PS
- Audi A6 in Quarzgrau Metallic 2,8 FSI
- Golf 5 ( fährt meine Frau )

Re: Unbekanntes Teil, verweistes Kabel und eine Leitung im Hitzeschutzmantel

Beitrag von Green Sharky 69 »

@Frank: Perfekt !! Damit sollte ich klar kommen :)
Grüße von Carsten

Bild


Wer etwas will, findet Wege. Wer etwas nicht will, findet Gründe.
Antworten

Zurück zu „Technik“